Three-Point Starter
A three-point starter is commonly used to safely start DC shunt motors. Just like the two-point starter, it controls the high inrush of current when the motor is switched on. But this one comes with an added feature—overload and no-voltage protection, making it more reliable.
What is a Three-Point Starter?
The name “three-point” comes from its three external terminals:
- L (Line): Connects to the positive terminal of the DC power supply.
- A (Armature): Connects to the armature winding of the motor.
- F (Field): Connects to the field winding of the motor.
These three terminals make it suitable for DC shunt motors where both the armature and field windings are separate.
Diagram of Three-Point Starter
Here’s a basic illustration of how the connections are made:
+ DC Supply
|
[L]—–> Handle —-R1—-R2—-R3—–> [A] (To Armature)
|
[F]———————> To Field Winding
Additional Components:
– Overload Release Coil (OLR)
– No-Voltage Coil (NVC)
- R1, R2, R3 = Starting resistances to limit current
- Handle = Moves gradually across the resistors to start the motor
- OLR = Disconnects the supply in case of overload
- NVC = Ensures the motor stops if the voltage supply fails
How it Works
- Initially, the handle is in the OFF position.
- When moved toward RUN, it connects the motor through resistors R1, R2, and R3.
- These resistors gradually reduce the starting current.
- Once in the RUN position, the handle is held by the NVC. If supply drops, the NVC releases the handle and stops the motor.
- If an overload occurs, the OLR trips the supply.

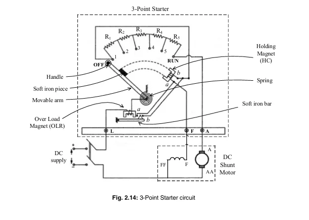
Internal Construction of a Three-Point Starter
Inside a three-point starter, you’ll find a smart arrangement of parts that help in safe motor operation.
- Resistors: There are several resistors (R1, R2, R3, R4, R5) connected between copper studs labeled 1, 2, 3, 4, 5, and RUN.
- OFF Stud: Located before Stud-1, it is not connected to any resistor. It’s the default position when the motor is not running.
- Movable Arm & Handle: A movable arm with a handle slides across the studs, starting from OFF and ending at RUN. This handle is connected to a spiral spring that pulls it back to OFF if there’s a power loss or fault.
- Conducting Strip: A metallic strip under the arm carries current from the power supply to each stud as the handle moves.
- Protective Coils:
- Holding Coil (HC): Also called the No-Volt Release (NVR), it is connected in series with the field winding. It holds the handle at RUN during normal operation. If supply fails or field current becomes too low, the coil deactivates, and the handle returns to OFF.
- Overload Release (OLR): Connected in series with the armature, this coil protects the motor from overload. During an overload, the OLR short-circuits the HC, releasing the handle and shutting off the motor. In commercial setups, OLR relays are wired directly into the armature circuit.
- Holding Coil (HC): Also called the No-Volt Release (NVR), it is connected in series with the field winding. It holds the handle at RUN during normal operation. If supply fails or field current becomes too low, the coil deactivates, and the handle returns to OFF.

Working of a Three-Point Starter (Continued)
In the disconnected state, the movable arm rests on the OFF stud, held firmly by the spiral spring. This means the motor is not receiving any power and is safely disconnected from the supply.
To start the motor, follow this process:
- Move the handle slowly from the OFF position to Stud-1.
- As soon as the handle touches Stud-1:
- The holding coil (HC) and field winding are connected in series across the power supply.
- The armature winding is connected in series with all the starting resistors (R1 + R2 + R3 + R4 + R5).
- The holding coil (HC) and field winding are connected in series across the power supply.
- Current begins to flow through both the armature and field windings, and the motor starts running.
As the motor picks up speed, the back EMF (Eb) increases. This back EMF naturally opposes the supply voltage, reducing the armature current. At this point, the external resistors are no longer needed in the circuit.
- So, the handle is gradually moved from Stud-2 to RUN, bypassing each resistor one by one.
- Once the handle reaches the RUN stud, all resistors are out of the armature circuit, and the motor operates at its rated full voltage.
This step-by-step action ensures a smooth and safe startup, preventing damage from high starting current.

How it Works (Continued)
As the handle moves to the RUN position, a small soft iron piece attached to it touches the holding magnet (also called the no-voltage coil or NVC). This magnet holds the handle in place and keeps the motor running as long as the NVC coil carries enough current.
However, if there is a power failure or if the field winding accidentally opens, the NVC coil loses magnetism. In this case, the spiral spring automatically pulls the handle back to the OFF position, cutting off the motor from the power supply.
🔍 Why is this important?
During normal running, the motor depends on a strong magnetic field (flux ∅). If the flux becomes very weak or zero, the motor’s speed increases dangerously because speed (N) is inversely proportional to flux (∅). That’s why it is essential to ensure that the field current never drops to zero.
Overload Protection by OLR
- Another key safety feature is the Overload Release (OLR) magnet.
- If armature current exceeds the safe limit due to overload, the OLR magnet gets energized.
- It pulls a movable soft iron bar, which short-circuits the terminals of the NVC coil.
- This action demagnetizes the NVC, releasing the handle.
- The spring then pulls the handle back to OFF, disconnecting the motor from the supply.
Limitations of 3-Point Starter
- In a 3-point starter, the NVC is in series with the field winding.
- When using field weakening for speed control in a DC shunt motor, the field current may be reduced too much.
- This makes the NVC magnet too weak to hold the handle, and it may falsely return to OFF.
4-Point Starter as a Solution
- To overcome this, a 4-point starter is used.
- In a 4-point starter, the NVC is connected directly across the supply, independent of the field circuit.
- This ensures the handle stays in RUN even during field weakening.
- However, the 4-point starter does not offer field failure protection, as the NVC cannot detect a break in the field winding.
Conclusion
The three-point starter is a smart and essential device for DC shunt motors. With three simple terminals and added safety features, it ensures your motor starts gently and safely.
It’s a must-know for anyone working with DC motors.
FAQ
What is a three-point starter?
A three-point starter is an electrical device used to safely start and control the speed of a DC shunt or compound motor. It helps limit the high starting current that can otherwise damage motor components.
Why is it called a “three-point” starter?
It is called a three-point starter because it has three main electrical terminals: L (Line), A (Armature), and F (Field).
What is the purpose of the No-Volt Coil (NVC)?
The NVC holds the starter handle in the ON position during normal motor operation. It also ensures that the motor doesn’t automatically restart after a power outage, preventing potential hazards.
Why are resistances used in the starter?
Resistances are placed in series with the armature during startup to reduce the initial high current, which could otherwise cause mechanical and electrical damage to the motor.
What is the function of the Overload Release Coil?
The Overload Release Coil disconnects power to the motor if it draws excessive current, thus preventing overheating and protecting the motor from damage.